Działka 3001 m2, 2 domki angielskie, Niechorze

Cena

890 000 PLN

Cena za m²

296,57 PLN/m²

Informacje ogólne

  • Typ: Sprzedaż
  • Miasto: Niechorze
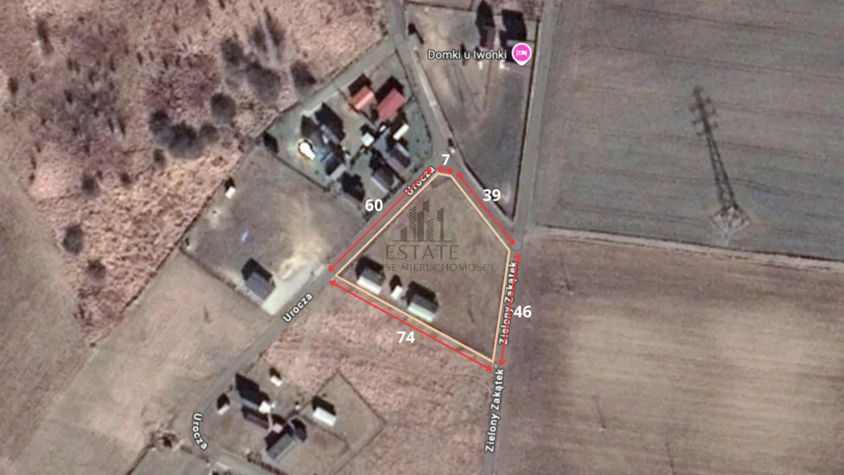
  • Powierzchnia: 3001,00 m²

Media

  • Studnia
  • Prąd
  • Szambo

Rekreacja

  • Jezioro

Kontakt

Opis

NA SPRZEDAŻ ZAGOSPODAROWANA DZIAŁKA Z DWOMA DOMKAMI ANGIELSKIMI, POMIESZCZENIEM GOSPODARCZYM W NADMORSKIEJ MIEJSCOWOŚCI NIECHORZE! Działka idealna na wypoczynek, pod inwestycję lub do zamieszkania.

Opis nieruchomości:

Działka  114/14 o powierzchni 3001 m² zlokalizowana w Niechorzu z dwoma domkami angielskimi i pomieszczeniem gospodarczym.
  • Dwa domki angielskie: jeden 3-pokojowy - przestronny, z większą kuchnią i łazienką, drugi 2-pokojowy - z mniejszą kuchnią i łazienką, idealny do wypoczynku (oba na zgłoszenie),
  • Pomieszczenie gospodarcze - do przechowywania narzędzi, sprzętu ogrodowego, jako dodatkowe zaplecze,
  • Plac zabaw - dla dzieci, idealne miejsce do zabawy i relaksu na świeżym powietrzu.
  • Zadaszenie tarasów - domki posiadają zadaszone tarasy, które zapewniają komfort podczas wypoczynku na świeżym powietrzu.
  • Rolety zewnętrzne i zwijana ochronna plandeka wokół całości tarasu - w jednym z domków
Wyposażenie domków:
  • Mikrofalówka, kuchenki na butle, okapy, lodówki, telewizor (anteny, dekodery do telewizji naziemnej), rozkładane narożniki - wszystko, co potrzebne do wygodnego pobytu.
  • Kominki gazowe - ciepło i przytulna atmosfera w chłodniejsze dni.
  • Szambo ekologiczne o pojemności 5000 m³
  • Kamery podglądu na żywo - 4 kamery monitorujące całą posesję, zapewniające bezpieczeństwo i spokój (jedno zdjęcie pokazuje widok z 4 kamer, typ widoku można zmieniać w aplikacji).
  • Alarm
Infrastruktura na działce:
  • 2 studnie + hydrofory
  • Bojlery elektryczne w każdym domku (ciepła woda).
  • Brama wjazdowa
  • W pomieszczeniu gospodarczym - dodatkowe instalacje, woda, w tym światło oraz przenośna pralka i wirówka.
  • Ogrodzenie: podmurówka oraz panele ogrodzeniowe.
Lokalizacja i otoczenie:
  • Do plaży: zaledwie 800 m - krótki spacer do pięknej, piaszczystej plaży.
  • Do latarni morskiej: tylko 900 m - wspaniałe miejsce na spacery i podziwianie widoków.
  • Do molo: tylko 1,5 km - idealne na romantyczne spacery przy zachodzie słońca.
W okolicy znajdują się sklepy spożywcze, restauracje, kawiarnie, a także inne atrakcje turystyczne.
To świetne miejsce do relaksu, a także inwestycji!

Link do geoportalu na naszej stronie internetowej
geoportal

Potencjał i przeznaczenie działki:

Działka o powierzchni 3001 m² daje ogromne możliwości zagospodarowania! Może być przeznaczona na:
  • Budowę domu wielorodzinnego- zarówno na wynajem turystyczny, jak i do zamieszkania.
  • Rozwój działalności turystycznej - np. pensjonat, pokoje gościnne, ośrodek wypoczynkowy.
  • Zagospodarowanie terenu na cele rekreacyjne - strefa wypoczynkowa, basen, place zabaw, przestrzeń do organizacji wydarzeń.
  • Inwestycje komercyjne - sklep, kawiarnia, restauracja czy inne usługi w turystycznej miejscowości.

DLA KOGO?

Rodziny z dziećmi - przestronny plac zabaw i komfortowe domki, idealne do wypoczynku.
Miłośnicy spokoju i natury - idealne miejsce do odpoczynku w nadmorskim klimacie.
Inwestorzy - doskonała okazja do wynajmu turystom jak i rozbudowy infrastruktury jak i kolejne domki.

Zadzwoń i dowiedz się więcej!
Ilona Dwornik
Licencja pośrednika nr 282292

Chcesz dokonać zakupu na kredyt? Zadzwoń, z nami uzyskasz najlepszą ofertę do Twoich potrzeb.

-------------
ENGLISH VERSION - We speak English!

FOR SALE: DEVELOPED PLOT WITH TWO ENGLISH-STYLE HOUSES AND A UTILITY ROOM IN THE COASTAL TOWN OF NIECHORZE!
A perfect property for leisure, investment, or permanent residence.

Property Description:
A 3,001 m² plot (parcel 114/14) located in Niechorze, featuring two English-style houses and a utility room.

Two English-style houses:
House 1: Spacious, with three rooms, a larger kitchen, and a bathroom.
House 2: Cozy, with two rooms, a smaller kitchen, and a bathroom - perfect for relaxation.
Both houses are legally registered.
Utility room - ideal for storing tools, gardening equipment, or as additional storage space.
Playground - a great outdoor area for children to play and enjoy.
Covered terraces - both houses have covered terraces, providing comfort during outdoor relaxation.
External blinds & retractable protective tarp around the terrace in one of the houses.

House Equipment:
Appliances: Microwave, gas stoves, range hoods, refrigerators, TV (with antennas and digital TV decoders), fold-out sofas - everything needed for a comfortable stay.
Gas fireplaces - ensuring warmth and a cozy atmosphere on colder days.
Ecological septic tank - 5,000 m³ capacity.
Live security cameras - 4 cameras monitoring the entire property, ensuring safety (a sample view from all 4 cameras is shown in the images, and the view can be adjusted via an app).
Alarm system for additional security.
Infrastructure on the Plot:
2 wells + water pumps.
Electric water heaters in each house (for hot water supply).
Entrance gate.
Utility room with additional installations: water, lighting, portable washing machine, and a spin dryer.
Fenced area - reinforced foundation and panel fencing.

Location & Surroundings:
Beach: Only 800 meters - a short walk to a beautiful sandy beach.
Lighthouse: Just 900 meters away - a perfect spot for scenic walks and breathtaking views.
Pier: Only 1.5 km - ideal for romantic sunset strolls.
Nearby amenities: grocery stores, restaurants, cafes, and various tourist attractions.

A great place for relaxation and investment!
Geoportal link available on our website

Plot Potential & Usage:
With 3,001 m², this property offers huge development possibilities, including:

Multi-family house construction - for tourist rental or residential purposes.
Tourism business development - guesthouse, vacation rentals, or a holiday resort.
Recreational use - leisure zones, a swimming pool, playgrounds, or event spaces.
Commercial investments - opening a shop, café, restaurant, or other services in a prime tourist location.
Who is this for?
- Families with children - spacious playground and comfortable houses for a perfect holiday.
- Nature lovers & those seeking peace - a great retreat with a seaside atmosphere.
- Investors - excellent rental potential and room for further development.

Call now to learn more!
Ilona Dwornik
Licensed Real Estate Agent (License No. 282292)

Thinking of buying with a mortgage? We can help you find the best financing option!

------------------------------
DEUTSCHE VERSION

ZU VERKAUFEN: ERSCHLOSSENES GRUNDSTÜCK MIT ZWEI ENGLISCHEN HÄUSERN UND EINEM WIRTSCHAFTSGEBÄUDE IN DEM KÜSTENORT NIECHORZE!
Perfekt für Erholung, Investition oder als Wohnsitz.

Objektbeschreibung:
Ein 3.001 m² großes Grundstück (Parzelle 114/14) in Niechorze mit zwei englischen Häusern und einem Wirtschaftsraum.

Zwei englische Häuser:
Haus 1: Geräumig, mit drei Zimmern, einer größeren Küche und einem Badezimmer.
Haus 2: Gemütlich, mit zwei Zimmern, einer kleineren Küche und einem Badezimmer - perfekt zur Entspannung.
Beide Häuser sind offiziell registriert.
Wirtschaftsraum - ideal zur Lagerung von Werkzeugen, Gartengeräten oder als zusätzlicher Stauraum.
Spielplatz - ein großartiger Ort für Kinder zum Spielen im Freien.
Überdachte Terrassen - bieten Komfort für entspannte Stunden im Freien.
Außenrollos & eine aufrollbare Schutzplane für die Terrasse eines der Häuser.

Ausstattung der Häuser:
Geräte: Mikrowelle, Gasherd, Dunstabzugshaube, Kühlschrank, TV (mit Antennen und digitalen TV-Decodern), ausziehbare Sofas - alles für einen komfortablen Aufenthalt.
Gas-Kamine - sorgen für Wärme und eine gemütliche Atmosphäre an kühleren Tagen.
Ökologischer Klärgrube - Fassungsvermögen: 5.000 m³.
Live-Überwachungskameras - 4 Kameras zur Überwachung des gesamten Grundstücks (die Ansicht kann in der App geändert werden).
Alarmsystem für zusätzliche Sicherheit.

Infrastruktur auf dem Grundstück:
2 Brunnen + Wasserpumpen.
Elektrische Boiler in jedem Haus (Warmwasserversorgung).
Einfahrtstor.
Wirtschaftsraum mit zusätzlichen Installationen: Wasser, Licht, tragbare Waschmaschine und Wäscheschleuder.
Eingezäuntes Grundstück - mit Fundament und Zaunelementen.

Lage & Umgebung:
Strand: Nur 800 Meter - ein kurzer Spaziergang zum wunderschönen Sandstrand.
Leuchtturm: Nur 900 Meter entfernt - ideal für Spaziergänge mit herrlicher Aussicht.
Mole: Nur 1,5 km - perfekt für romantische Spaziergänge bei Sonnenuntergang.
In der Nähe: Supermärkte, Restaurants, Cafés und viele touristische Attraktionen.

Perfekt für Erholung und Investition!
Geoportal-Link auf unserer Website verfügbar

Potenzial & Nutzung des Grundstücks:
Mit 3.001 m² bietet dieses Grundstück zahlreiche Möglichkeiten, z. B.:

Bau eines Mehrfamilienhauses - für touristische Vermietung oder als Wohnsitz.
Entwicklung eines Tourismusgeschäfts - Gästehaus, Ferienvermietung oder Erholungszentrum.
Freizeitnutzung - Erholungsbereiche, Pool, Spielplätze, Veranstaltungsflächen.
Kommerzielle Investitionen - Geschäft, Café, Restaurant oder andere Dienstleistungen in einer touristischen Lage.
Für wen ist diese Immobilie geeignet?
✅ Familien mit Kindern - großer Spielplatz und komfortable Häuser für perfekte Ferien.
✅ Naturliebhaber & Ruhesuchende - ein idealer Rückzugsort mit Meeresklima.
✅ Investoren - hervorragendes Vermietungspotenzial mit Möglichkeiten zur weiteren Entwicklung.

Rufen Sie uns an, um mehr zu erfahren!
Ilona Dwornik
Lizenzierte Immobilienmaklerin (Lizenz-Nr. 282292)

Möchten Sie mit einem Kredit kaufen? Wir helfen Ihnen, das beste Finanzierungsangebot zu finden!




Numer oferty: 256254

Mapa